华为申请姚安娜英文名商标获批 其相关商标均注册成功
TechWeb 2021-12-02 17:15
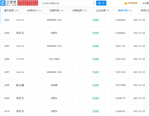
12月2日,企查查App显示,近期,华为技术有限公司成功注册姚思为、YAO SIWEI、ANNABEL YAO商标,商标国际服装鞋帽、方便食品等。
企查查显示,华为目前也已经完成了姚安娜商标的注册。据悉,姚安娜原名为姚思为,为华为创始人任正非的小女儿。
